جوجل تطور طائرات بدون طيار للخدمات الطبية

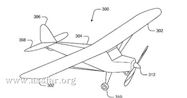
حصلت شركة جوجل مؤخراً على براءة اختراع جديدة، خاصة بمجموعة من الطائرات بدون طيار التي يمكنها جلب المساعدات الطبية ليتم توصيلها إلى المحتاجين إليها في وقت قياسي. وستكون هذه الطائرات قادرة على إرسال أدوات طبية متنوعة ومهمة مثل صدمة الحساسية ضد السكتة القلبية، حيث تقوم بتحديد موقع الفرد ثم إرسال المعدات، ويمكنها التواصل مع من يطلبها باستخدام الواي فاي، أو خدمة الهاتف العادي بسهولة. ووفقًا لبراءة الاختراع فيمكن للمستخدم تحديد ما يريده بالضبط من أدوات حسب الحالة، وبمجرد وصولها، يمكن للطائرة بدون طيار أن تقدم خطوة بخطوة تعليمات حول كيفية استخدام الإمدادات عبر فيديو توضيحي، مما يساعد على إنقاذ حالة المرضى وقت الطوارئ بشكل أكثر فاعلية. وقالت جوجل أن الطائرة يمكن أن تهبط على الماء إذا لزم الأمر. وليس هذا فقط بل وفقًا لموقع techinsider الأمريكي فإن النظام الذي قدمته جوجل وتعمل عليه الطائرات بدون طيار يمكنه استدعاء الطوارئ لطلب المساعدة. وهذه ليست المرة الأولى التي تحصل فيها جوجل على براءة اختراع خاصة بالطائرات بدون طيار، وهذا يعني أنها تخطط لدخول هذا المجال بقوة.